10. Assembly-hints
Leak-free seals are achieved only when proper sealing material is selected in the right sizes and sufficiently deformed. Correct deformation depends on observance of machine element toler- ances and surface finishes. In practical terms all factors influenc- ing the seal must be considered. Care not taken on assembly leads to high servicing costs and subsequent down-time.
10.1 Chamfers
To prevent damaging of seals during assembly, chamfers are necessary on all leading edges. All edges must be free from burrs and sharp edges bevelled.

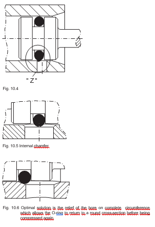
10.2 Traversing of cross drilled ports
An O-ring can be sheared when a spool or rod moves in a bore broken by cross-drilled ports. The deformed O-ring returns to its original round cross-section as it enters the port and is sheared as it leaves the drilled area. To avoid this, connection holes should be repositioned. If repositioning should not be possible, an internal chamfer is recommended.

10.3 Cleanliness and cleaning materials
Lack of cleanliness of O-ring glands leads to leakage. To ensure protection from foreign particles of sealing faces during working life it is necessary to use filters or to plan maintenance cycles. Cleaning material must also be a medium which is compatible with the elastomer. Also grease used to ease assembly must be compatible.
10.4 Stretching for assembly
O-rings or back-up rings can be stretched during assembly by 50 % of their inner diameters. With small inner diameters the percentage can be significantly greater becoming eventually critical. It therefore is important to ensure that the stretch remains less than elongation at break given in compound data sheets. If an O- ring is stretched to near its elastic limit it will return to its original size after a short delay.
10.5 Rolling
O-rings of large inner diameters and small cross-sections tend to roll during assembly. An O-ring rolled during fitting can be prone to spiral failure (see Section 9.4.) or tend to leak.

10.6 Sharp edges
O-rings should not be drawn during fitting over sharp edges, threads, slits, bores, glands, splines, etc. Such sharp edges must be removed or covered. Fitting aids assist assembly and avoid sharp edges.

